おかげさまで開設25周年WWW.PAPERBAGG.COM 創業祭

WWW.PAPERBAGG.COM

詳しくはこちら
マイストア マイストア 変更
  • 即日配送
  • 広告
  • 取置可能
  • 店頭受取

HOT ! Diagram セットアップ サイズ36 Diagram セットアップ サイズ36 Diagram セットアップ サイズ36

※WWW.PAPERBAGG.COM 限定モデル
YouTuberの皆様に商品の使い心地などをご紹介いただいております!
紹介動画はこちら

ネット販売
価格(税込)

6844

  • コメリカード番号登録、コメリカードでお支払いで
    コメリポイント : 5ポイント獲得

コメリポイントについて

購入個数を減らす
購入個数を増やす

お店で受け取る お店で受け取る
(送料無料)

受け取り店舗:

お店を選ぶ

近くの店舗を確認する

納期目安:

13時までに注文→17時までにご用意

17時までに注文→翌朝までにご用意

受け取り方法・送料について

カートに入れる

配送する 配送する

納期目安:

2026.03.19 22:34頃のお届け予定です。

決済方法が、クレジット、代金引換の場合に限ります。その他の決済方法の場合はこちらをご確認ください。

※土・日・祝日の注文の場合や在庫状況によって、商品のお届けにお時間をいただく場合がございます。

即日出荷条件について

受け取り方法・送料について

カートに入れる

欲しいものリストに追加

欲しいものリストに追加されました

Diagram セットアップ サイズ36 Diagram セットアップ サイズ36 Diagram セットアップ サイズ36の詳細情報

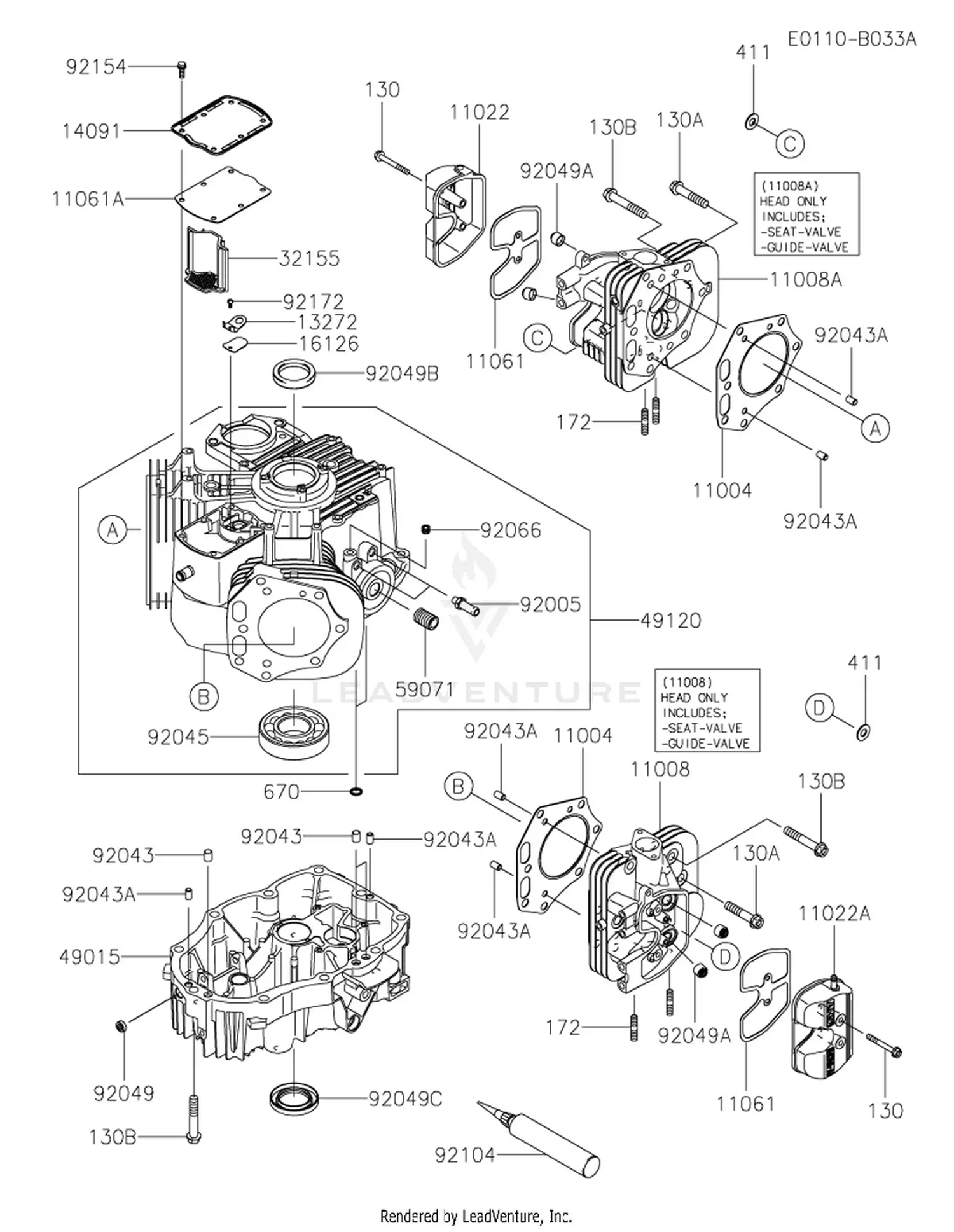
Diagram セットアップ サイズ36 Diagram セットアップ サイズ36。Hitachi ZX350LC-6 and ZX350LCN-6 ZAXIS Excavator Service Repair Manual。スーツ メンズ おしゃれ ストライプ柄 セットアップ 上下セット。*即購入大歓迎です*フォロー割・まとめ買い割も実施中です。ZX35 [1LT] * HYDRAULIC EXCAVATOR PARTS CATALOG。お気軽にコメントください♪●商品説明ダイアグラム Diagramノースリーブブラウス リボンタイ付きベルト 付きプリーツスカート●サイズ表記:36トルソーは9号(B82 W60 H88身長役168設定)●状態目立つ傷や汚れのない美品。JENNE ジェンヌ フレンチスリーブサマーニットワンピース ローズ 赤 ピンク。※あくまで中古品です。美品 ICHI Antiquites リネン ギャザー ワンピース。完璧をお求めの方はご遠慮ください。リバティ柄/半袖 ロングワンピース/ブルー/Mサイズ。●配送について基本24時間以内の発送を心がけております。ルールロジェット花柄ロングワンピース 長袖。コンパクトに折りたたんでの配送となりますので、畳みジワはご了承下さいませ。中川政七商店 綿ウール接結のロングワンピース ダークグレー。気になる点があれば、お気軽にコメントくださいね。極美品 18SS⭐️プリーツプリーズ プルオーバー長袖ロングワンピース ブルー。
  • Diagram セットアップ サイズ36 Diagram セットアップ サイズ36
  • Hitachi ZX350LC-6 and ZX350LCN-6 ZAXIS Excavator Service Repair Manual
  • スーツ メンズ おしゃれ ストライプ柄 セットアップ 上下セット
  • ZX35 [1LT] * HYDRAULIC EXCAVATOR PARTS CATALOG

同じカテゴリの 商品を探す

ベストセラーランキングです

このカテゴリをもっと見る

この商品を見た人はこんな商品も見ています

近くの売り場の商品

このカテゴリをもっと見る

カスタマーレビュー

オススメ度  4.5点

現在、5295件のレビューが投稿されています。